快速报装解决方案

我们的特点

业务办理多入口

当客户需要在家办理报装业务办理时,可以利用手机或电脑,通过扫描二维码进入或者直接打开微信公众号、小程序、支付宝生活号、小程序、公司网站、网上营业厅等这些入口,直接找到办理业务的界面,并且公布联系电话,方便用户自助办理

流程透明化

通过直接在界面上展示办理业务的流程、每个流程节点需要的材料、填写说明等内容,让客户了解办理流程,可以提前准备资料

流程定制化

根据每个业务的不同,水司可以自定义办理节点的多少,以及每个节点需要填写的资料事项,以实现高效办公

通知多样化

当流程办理的每个节点结束后,可以推送通知到用户的手机微信支付宝短信邮件等,让用户快速了解办理进度

入口

因客户习惯不同,通过手机或电脑均提供办理业务入口,也可以通过二维码扫描进入

小程序
公众号
网站

管理后台

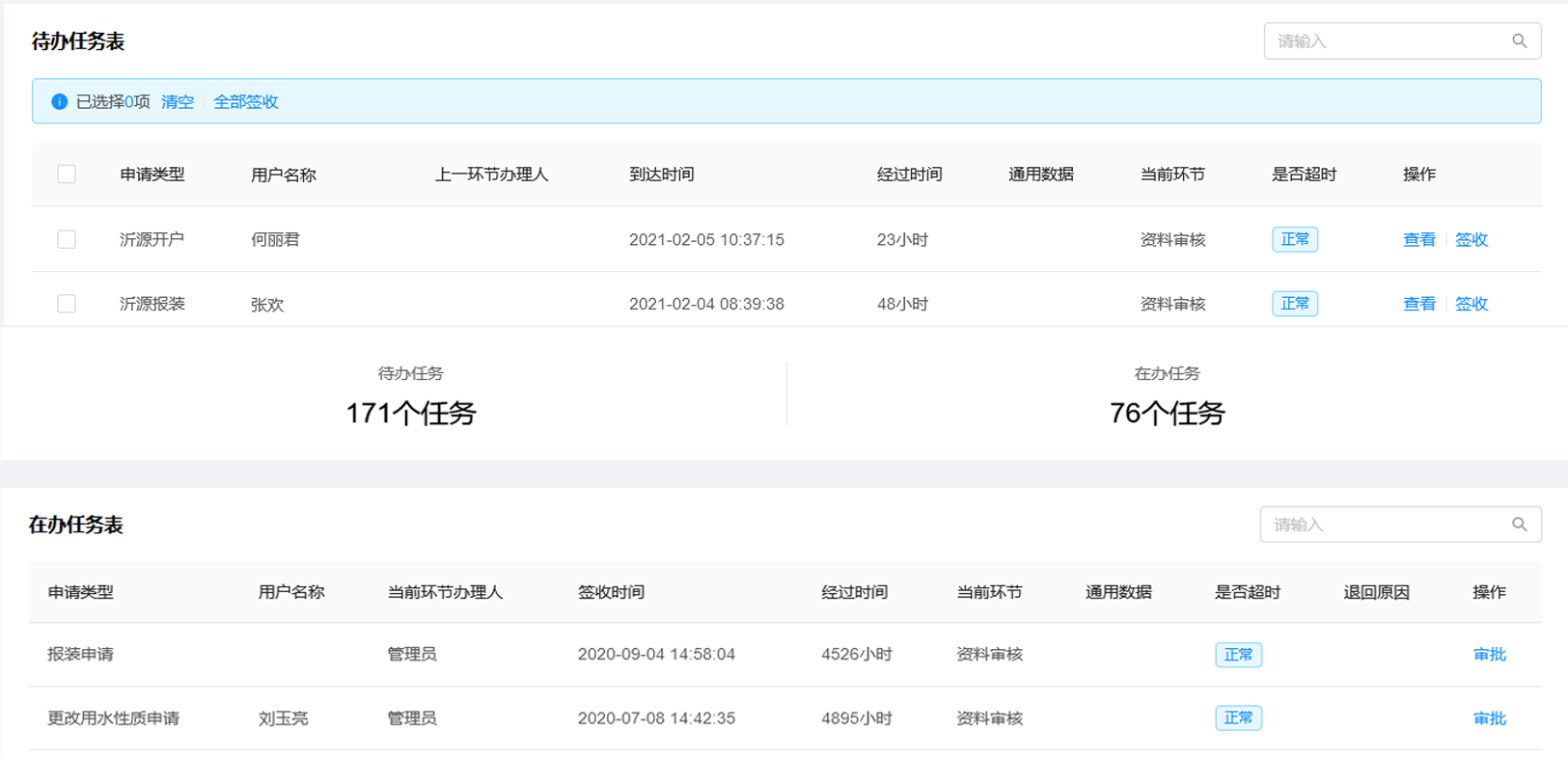
待办/在办

工作人员日常通过企业微信或pc管理后台,可以及时接收消息通知,查看待办审批业务,可以通过待办、在办任务列表,整体掌控办理进度,及时处理。业务办理完成后,将自动流转到下一个办理人

流程配置

流程监管
产品咨询:19969956290
技术支持:13356705760
中国联通
北京亚控
大华技术股份
捷宝科技
西门子
阿里云
中国银行
中国移动
农业银行
建设银行
微信支付
招商银行
支付宝
银联